Особенности конструкции
«Колобок» из пластика и металла, насыщенный электронной начинкой, управляемый с помощью искусственного интеллекта и вооружённый мультинабором спецсредств, представлен на рис. 1.

Устройство позиционируется как средство борьбы с правонарушителями [2]. Rotunbot RT-G представляет собой устойчивый ударопрочный шар диаметром около 80 см и весом 125 кг, стремительно перекатывающийся, способный догнать человека и обездвижить его с помощью непосредственного контакта и (или) специальных средств. Электронная начинка робота защищена от внешних воздействий полимерным корпусом, армированным стекловолокном. Такое конструктивное решение не только обеспечивает антивандальное исполнение, но и защищает полицейского помощника от мороза: устройство бесперебойно может работать в диапазоне температур от –30°C до +50°C.
Встроенные специальные средства нейтрализации
Из-за наличия специальных средств задержания и обездвижения преступников устройство получило неофициальное название «нейтрализатор».
Полицейский электронный робот может выстреливать обездвиживающей правонарушителя сетью из расположенной на боку «пушки», распылить слезоточивый газ из встроенных баллонов направленного действия, выбросить активируемые дымовые шашки. Также устройство оборудовано акустическими средствами (СГУ и др.) для разгона толпы.
Масса в 125 кг обеспечивает «боевому колобку» возможность сбить правонарушителя с ног или пробить баррикаду во время митинга.
Подвижный робот также может преодолевать небольшие препятствия (подпрыгивать) на высоту до 30 см и перемещается по пересечённой местности. Но опция помогает и в условиях городской застройки, где улицы ограничены бордюрами: проезжая часть разделена с пешеходной и велосипедной дорожкой, находящейся на небольшом возвышении (рис. 2).

Разработка проекта велась с 2017 года. Изначально устройство разрабатывалось в научных целях: для изучения поверхности Меркурия. Базовая платформа устройства приспособлена к работе в суровых условиях, поскольку самая близкая к Солнцу планета в звёздной системе известна экстремальными температурами. Но после дискуссии в кругах разработчиков было решено вести два проекта: и для космических, и для более утилитарных полицейских, военных целей. Так, в июле 2024 года Rotunbot R прошёл испытания в полицейских патрулях китайского городского округа Вэньчжоу (рис. 3).

Кроме того, новому полицейскому робо-ассистенту не страшны удары с помощью спортивной биты для игры в городки. Краш-тест проведён и зафиксирован на видео, которое завирусилось в глобальной сети [3]. Поэтому армированный стекловолокном полимерный корпус надёжно защищает электронные модели робота от ударов, воды и мороза.
Внутреннее строение
Корпус робота состоит из трёх частей. Центральная секция соприкасается с землёй и работает в режиме моноколеса. Две боковые части, скреплённые друг с другом и с внутренней рамой, не движутся. Несмотря на необычный внешний вид, моноколесо устойчиво и не может перевернуться. В этой части конструкцию робота-полицейского стабилизирует зафиксированный на внутренней раме относительно тяжёлый груз-маятник. В результате такого конструктивного решения достигается эффект неваляшки. Изменение положения маятника смещает центр массы машины, за счёт чего устройство обретает высокую устойчивость как в статике, так и в динамике.

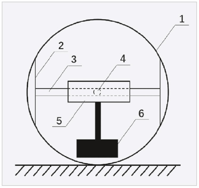
В движении устройство отклоняется в двух направлениях под действием электромоторов, то есть обеспечивается и реверсивное движение. На рис. 4 представлена конструкция устройства Rotunbot RT‑G в разрезе. На рис. 5 – упрощённая блок-схема расположения основных частей устройства.

Зелёным цветом обозначены электромоторы, красным – инерциальный измерительный модуль для отслеживания в реальном времени углового ускорения и контроля поворота корпуса, голубым – видеокамеры.
На рис. 6 наглядно показаны особенности армированного корпуса Rotunbot RT‑G.

На открытой местности Rotunbot RT-G может двигаться по заданному программой или управляемому оператором маршруту. Встроенные в электронный аппарат алгоритмы с ИИ позволяют уверенно перемещаться в разных условиях. При этом тряска и вибрация, неизбежные на бездорожье, не мешают оператору видеть картину окружающего мира стабилизированной: за это отвечает соответствующий электронный модуль. Примеры электронной стабилизации изображений с видеокамер, позволяющей избежать искажений из‑за естественной вибрации в движении, показаны на рис. 7. Слева – оригинальные кадры, справа – изображения после обработки встроенным ПО с ИИ, окончательно записываемые в электронную память устройства.

В этой части отметим, что с помощью шести постоянно включённых в разных ракурсах съёмки видеокамер «робокоп» выполняет роль и видеорегистратора, совмещённого с модулем электронной памяти ёмкостью 1 Тбайт. При этом кроме фиксации всего происходящего в SSD внутренней памяти картинка в реальном времени передаётся по каналам связи LTE со скоростью 5G. Такие скорости передачи данных уже несколько лет обеспечены в крупных городах КНР.
Для ориентации на местности Rotunbot RT-G использует GPS-навигацию, лидары (приборы для определения расстояния до объектов с помощью лазерного луча) и ультразвуковые датчики, позволяющие успешно объезжать людей, животных, автомобили на городских улицах, мусорные урны и иные препятствия. Таким образом, представленный робот не врежется в закрытые стеклянные двери первого этажа бизнес-центра, магазина или кафе, шокируя посетителей и испортив им аппетит. С помощью специальных электронных датчиков, которых в представленной модели более 40, Rotunbot RT-G оценивает угловое ускорение, повороты корпуса, пройденное расстояние, уровень связи GSM и LTE, уровень зарядки батареи и иные параметры, обеспечивающие устройству функционирование.
Кроме того, устройство обладает хорошей энергоэффективностью в сравнении с уже созданными шагающими роботами: на одном заряде встроенной АКБ работает 10 часов без перерыва и может преодолеть расстояние до 120 км. Это значительный ресурс для такой конструкции. Подзарядить устройство можно от электрического ЗУ в стационарных условиях: от розетки осветительной сети 230–240 В или на уличных ЭЗС (станциях зарядки для электромобилей).
Китайский робот-нейтрализатор для нужд полиции обладает высокой прочностью. Не страшны падения с высоты до 0,8 метра (испытано в условиях падения на асфальт) и внешние воздействия давлением общей силой до 4 т.
Rotunbot RT-G может без повреждений и потери функционала скатываться с лестниц, преодолевать небольшие уступы. Не помеха ему и грязь, слякоть, лёгкое бездорожье – главное, избегать загрязнения камер и датчиков. При перемещении в сливных желобах Rotunbot RT-G доказал свою стабильность и способность уверенно двигаться. Но что касается более глубоких уклонов, канав или рвов, в частности, в условиях типичного загородного ландшафта и особенно на мягких почвах со значительным содержанием песка, такое моноколесо пока эффективно двигаться не может. Это один из его зафиксированных за полгода и признанных недостатков. О них дополнительно поговорим в отдельном разделе.
Особенности управления
С помощью ИИ и интегративно взаимодействующих электронных датчиков устройство может двигаться автономно, к примеру, по сигналу от пироэлектрического детектора («датчика движения»), микроволнового датчика и др., полностью дистанционно, получая команды управления по сети LTE (сотовой связи), а также локально дистанционно – с помощью пульта дистанционного управления (ПДУ) с расстояния до 500 метров. На рис. 3 (выше) у сотрудника полиции, замыкающего шествие патруля, в руках именно ПДУ.
Благодаря двум электрическим двигателям бесщёточной конструкции (так же, как в современных БПЛА на электротяге) Rotunbot RT‑G может развивать скорость до 38 км/ч, а разгоняется до 30 км/ч всего за 2,5 с. Предполагается, что таким образом он может преследовать убегающих правонарушителей и настигать их на открытой местности без преград, ибо скорость бега человека в среднем 10–12 км/ч. Устройство может менять направление движения за счёт асинхронного вращения двигателей по тому же принципу, как разворачиваются транспортные установки на гусеничном шасси или тележки-транспортёры.
Особенные возможности
Rotunbot RT-G приспособлен для ближнего и контактного действия, включая контртеррористические операции. Для внешних аудио и световых эффектов аппарат дополнен проблесковыми маячками и сиреной, СГУ (громкоговорителем-мегафоном мощностью 500 Вт в азиатском стандарте PMPO или примерно 80 Вт по российскому стандарту, что соответствует громкоговорящим устройствам, устанавливаемым на автомобилях ГИБДД) – этого достаточно для уличного применения.
Собственный шум при движении моноколеса оценивается экспертами на уровне 15–25 дБ, что по нижней границе примерно соответствует шуму от комнатного электрического кондиционера (сплит-системы) и по верхней границе максимального уровня – движению типичного современного уличного электросамоката. В любом случае, это крайне небольшие значения шума.
Стоимость производства одного экземпляра устройства (в зависимости от комплектации, опций) в пересчёте с китайских юаней на российские рубли составляет 4,6–6,08 млн. Сейчас разработка проходит испытания: полицейские знакомятся с потенциальным роботом-напарником, испытывают его на прочность и имитируют различные сценарии с участием «колобка», проверяя, как он поведёт себя в тех или иных ситуациях, например, при задержании преступников. Отмечается, что к этой технологии уже проявили интерес представители стран Ближнего Востока.
Средства защиты робота Rotunbot RT‑G
Действительно, представленный робот с учётом своей конструкции может переплывать небольшие речки и пруды без погружения, когда движение на поверхности воды длится несколько минут, то есть с шириной водной преграды или акватории 5–50 метров. Точные данные об устойчивости устройства на воде и под водой пока не получены, хотя наш корреспондент запросил по электронной почте производителя о подробностях конструкции. Пока известно только о том, что класс влагозащиты устройства 8, пылезащиты – 6, то есть IP68 по международной классификации Ingress Protection Rating (степень защиты от проникновения внешних воздействий). В России обозначение степеней защиты нормируется ГОСТ14254-2015 «Степени защиты, обеспечиваемые оболочками» (IEC 60529:2013). Под «оболочкой» подразумевается элемент, обеспечивающий защиту оборудования от внешних контактов и воздействий. Записывается как IPXY, где X – степень защиты от пыли и твердых предметов: 0–6, а Y – степень защиты от влаги: 0–9.

На своём презентационном видеоролике производитель показывает, что устройство «движется в воде» (рис. 8).
Условные недостатки
Эффективно и даже быстро колесо в воде двигаться не может, если даже увеличить скорость его вращения в десятки раз: оно «взбивает» воду, не погружаясь, но и не двигаясь вперед. В конструкции Rotunbot RT-G имеются два винта, благодаря которым устройство способно пересекать небольшие водные препятствия. Но также необходимы дополнительные (и обираемые) лопатки на поверхности колеса (на манер рёбер на различных транспортёрах) или хотя бы подкрылки к моноколесу. В этом смысле к производителю остаётся много вопросов, тем не менее факт создания и апробации устройства Rotunbot RT-G со всеми его анонсированными возможностями более не подлежит сомнению.
Подвижный робот может закатываться на возвышения и преодолевать небольшие уступы, приспособлен для перемещения по грязи, слякоти и лёгкому бездорожью, главное, избегать загрязнения датчиков и камер.
Этим недостатком страдают почти все системы визуального наблюдения с электронной начинкой. Решают проблему загрязнения оптических поверхностей и увеличительных линз-коллиматоров по-разному: с помощью специальных покрытий и материалов, «растворяющих» элементы осадков природного происхождения, песка и пыли, защитных экранов (даже с применением напыляемой плёнки из реагентов), специальных форсунок с автоматическим распрыскиванием чистящего состава (как во взрыво- и пожарозащищённых и антивандальных устройствах – об этом мы писали в [1]) с применением фильтров, специально рассчитанных по спектральному анализу, и, кое-где ещё по старинке, вручную с помощью лестницы и человека, очищающего объектив камеры.
Эти известные способы хороши для применения на стационарных видеокамерах наблюдения и даже уличных светофорах. Но что касается видеокамер, фиксирующих происходящее, установленных на подвижных устройствах, тут пока остаётся огромный потенциал для совершенствования защитных методов оборудования и конструкторских инноваций. В представленном робо-ассистенте видеокамеры защищены экраном из пуленепробиваемого стекла, который можно периодически протирать от накопившихся брызг и загрязнений.
Из-за условной тяжести (125 кг) и особенностей конструкции рассматриваемое моноколесо вряд ли сможет преодолеть крутой подъём, уклон свыше 7° или самостоятельно взобраться на лестницу. Однако конструкторы работают над решением этих проблем.
Выводы и перспективы
Борьба с правонарушителями – не единственная область, где будет востребована разработка. Благодаря высокой прочности устройство Rotunbot RT-G уже позиционируется как элемент военной тактики, перспективный беспилотный помощник для служб охраны.
Косвенно распространение «самодвижущегося полицейского помощника» позволит исключить человеческий фактор в простых и прогнозируемых служебных обстоятельствах, то есть со временем, во-первых, сэкономить на сотрудниках-людях, работающих на должностях без высокой квалификации, и в целом привести к экономии бюджетных или коммерческих средств. Во-вторых, не за горами то время, когда вокруг нас будут нести службу целые подразделения подобных охранных роботов.
В этой области надо отметить огромные перспективы применения в различных силовых службах, в пенитенциарной системе, в пограничной службе и многих других случаях, все из которых не перечислить. Вполне возможно, что в перспективе форм-фактор моноколеса будет изменён, чтобы соответствовать тем или иным задачам. Также будет усовершенствован и дополнен функционал устройства.
К примеру, технически электронную систему дополнят беспроводной связью со стационарным удалённым сервером, способностью самостоятельно обнаруживать правонарушителей по полученному с видеокамер изображению с помощью встроенной системы распознавания лиц. В случае необходимости робо-ассистенты смогут кооперироваться друг с другом в процессе преследования, погони, патрульного наблюдения или задержания разыскиваемых лиц.
При этом общее управление роботами может осуществляться с единого поста всего одним или несколькими сменными операторами. Такими операторами могут быть даже не аттестованные сотрудники полиции, а лишь те, кто и сейчас обеспечивает контроль в службе мониторинга: анализирует информацию с тысяч видеокамер, установленных в крупных городах для обзора каждого перекрёстка, каждого подъезда многоквартирного дома. Сами патрули, состоящие из роботов-полицейских, можно будет запускать дистанционно по управляемому маршруту.
Огромные перспективы видятся также в спасательных работах, радиационном мониторинге, оценке загрязнения воды, обезвреживании взрывных устройств. В быту на базе шаровидного робокопа можно создавать управляемые детские игрушки-конструкторы для сборки домашних роботов модульным способом.
Благодаря развитой технологии беспроводной связи в реальном времени собранная подвижным роботом информация будет оперативно передаваться оператору на терминал управления, а умение действовать в разных средах (к примеру, на воде) добавит возможностей для того, чтобы задействовать усовершенствованные прототипы Rotunbot RT-G для патрулирования не только улиц, но и акваторий, а также взрыво-, химико-, агрессивных и пожароопасных сред. Разумеется, для этого будет усовершенствована и правовая база. Так что граждан ждёт множество изменений в рассматриваемой сфере в ближайшие 10–20 лет.
Строго говоря, мировой и стремительно развивающийся рынок робототехники представлен не только полицейскими роботами (этот пример скорее специфический), и не только в КНР. Много научных институтов и небольших компаний-разработчиков работают в сфере робототехники. Также и в России есть достойные, правда, пока только «выставочные» и не массовые примеры перспективных моделей – результатов роботостроения, в частности, такие презентации новинок регулярно проводит Сбербанк. Но если сравнивать развитие рынка робототехники в мировых странах, наибольших успехов продолжают добиваться именно в Поднебесной.
Массовое производство ИИ-роботов с большим функционалом также запустили в китайском стартапе Agibot. Китайская компания DEEP Robotics представила новинку в линейке разработанных роботов Lynx: среднеразмерного робота-собаку с колёсами. В лаборатории Robotics X Lab разработали прототипы ходяче-колёсных роботов Tencent и Оlli, разработанных для помощи обездвиженным или пожилым людям и пациентам с ОВЗ. Человекоподобные роботы типа GR-1 производственной компании Fourier Intelligence тоже позиционируются как роботы-помощники в быту и медицинской сфере.
Литература
- Кашкаров А. Конструктивные особенности антивандального и взрывозащитного оборудования // СТА. 2024. № 2. URL: https://www.cta.ru/articles/cta/obzory/179886/.
- Последнее дело «знатоков» – тайны песни «Незримый бой». URL: https://dzen.ru/a/Xd1FODESq2DHNZKQ.
- Rotunbot RT-G: The Robotic Ball Chasing Criminals on Land and Water / Китайское видео и краш-тест. URL: https://www.youtube.com/watch?v=PTg-mzgX5T4.
© СТА-ПРЕСС, 2025
Если вам понравился материал, кликните значок — вы поможете нам узнать, каким статьям и новостям следует отдавать предпочтение. Если вы хотите обсудить материал —не стесняйтесь оставлять свои комментарии : возможно, они будут полезны другим нашим читателям!

